横葺き屋根材(住宅用金属屋根)

❚ 横葺き屋根の特長

■ 意匠性に優れた外観デザイン
横方向のラインや段差によって、立体感のある美しい外観を演出します。
和風・洋風を問わず、住宅から大型建築まで幅広く調和します。

■ 施工性と経済性に優れた工法
嵌合構造やワンタッチ施工により、効率的で施工しやすい工法です。
長尺施工にも対応し、さまざまな建築条件に柔軟に対応できます。

■ 水密性・耐久性に優れた構造
鋼板の特性(スプリングバック)を活かした構造により、高い水密性を確保。
耐風性・耐久性にも優れ、厳しい自然条件にも対応します。
 

❚ 型式一覧

型式 働き巾 山高 板厚範囲
段葺き215 215mm 15mm 0.4〜0.5mm
段葺き190・300 190/300mm 15/16mm 0.4〜0.6/0.5~0.6mm
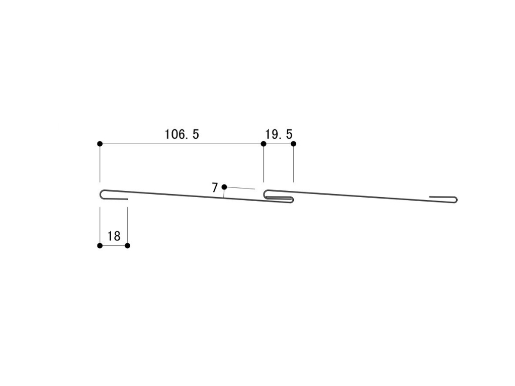
一文字葺 106.5~mm 7mm 0.4~0.5mm
アポロルーフ 192mm 11mm 0.35〜0.5mm

❚ 働き巾の違い

断面図

❚ 製品ラインアップ

段葺き215

独自の嵌合接合によりワンタッチ取付が可能な屋根材。

■段葺きラインによる美しい外観と高級感
■段葺き形状を活かし、簡単に施工できる横葺き屋根
■住宅から大型建物まで幅広い建造物に対応する長尺工法
■鋼板のスプリングバックを活用した水密性に優れた構造

❚ 設計参考仕様

使用原板厚 0.4~0.5 ※
使用原板巾 305mm
裏張材巾 300mm
働き巾 215mm
材料 カラーGL、フッ素GL、銅板、カラーアルミ
自然曲率半径 15m以上
成型最短寸法 820mm

勾  配:25/100以上 
※カラーGL/フッ素GL/カラーアルミ 0.4~0.5、銅板 0.4

段葺き190・300

ダイナミックな外観と施工性・経済性を兼ね備えた工法。

■施工が容易で、優れた経済性を発揮
■耐久性・防風性に優れ、厳しい自然条件にも対応
■住宅から工場・倉庫まで幅広い建造物に適したデザイン
■鋼板のスプリングバックを活用した水密性に優れた構造

❚ 設計参考仕様

使用原板厚 段葺き190 0.4~0.6 段葺き300 0.5~0.6
使用原板巾 305mm 455mm
裏張材巾 280mm 450mm
働き巾 190mm 300mm
材料 カラーGL、フッ素GL、カラーアルミ
成型最短寸法 850mm 800mm

勾  配:25/100以上 

一文字葺

和風・洋風を問わず幅広い建築に調和する伝統的な屋根工法。

■日本古来の意匠を活かした伝統的な屋根
■銅板葺き工法として広く用いられてきた実績
■曲面屋根にも対応し、神社・仏閣・住宅などに採用
■耐風性・耐水性に優れた構造
■加工性に優れ、さまざまな屋根形状に対応可能

❚ 設計参考仕様

働き巾×長さ 1コマ長さ×コマ数 1枚当りの面積 ㎡当りの枚数 1梱包当りの枚数
152型 106.5mm×960mm 320mm×3 0.10224㎡ 9.78枚 33枚
182型 137.4mm×1077mm 359mm×3 0.14809㎡ 6.75枚 23枚
202型 157.0mm×1230mm 410mm×3 0.19311㎡ 5.18枚 18枚
227型 182.5mm×1077mm 359mm×3 0.19655㎡ 5.09枚 17枚
303型 258.0mm×1230mm 410mm×3 0.31734㎡ 3.15枚 11枚

勾  配:30/100以上 

アポロルーフ

優美でシンプルな納まりと施工性・経済性を兼ね備えた工法。

■施工が容易で、優れた経済性を発揮
■耐久性・防風性に優れ、厳しい自然条件にも対応
■住宅から工場・倉庫まで幅広い建造物に適したシンプルなデザイン

❚ 設計参考仕様

使用原板厚 0.35~0.5 ※
使用原板巾 305mm
裏張材巾 290mm
働き巾 192mm
材料 カラーGL、フッ素GL、銅板、カラーアルミ
成型最短寸法 800mm

勾  配:30/100以上 
※カラーGL/フッ素GL/カラーアルミ 0.35~0.5、銅板 0.35~0.4
実際の諸条件により、使用できる材料やサイズが異なります。事前にご相談ください。

カタログダウンロード

📘 総合カタログ(PDF)をダウンロード

お問い合わせ

製品仕様・施工方法・お見積りなど、お気軽にご相談ください。

📩 お問い合わせフォームへ
上部へスクロール